This week, a number of patent applications from Peloton have been published – which hint at possible future Tread or Tread+ features that could enhance safety with the device, as well as provide other possible features like form feedback. A first patent application, titled “Controlling operation of a treadmill” detailed sensors and other mechanisms that could be used to detect user placement on a Treadmill, and control the operation of the Treadmill appropriately.
A second patent application titled “Detecting objects proximate to a Treadmill” is more explicit about the goals of the patent – detailing how sensors can be used as a safety mechanism – and slowdown or stop a Treadmill (or other exercise device) based on objects getting near or underneath the Tread.

For context, the Peloton Tread+ has been recalled since 2021 due to safety risk of children or objects getting underneath the platform. And as always, it is important to note that just because a patent is filed or awarded does not mean that the feature or product will ever be brought to market.
Both of these patents were first reported by @BobTreemore on Twitter.
The “Detecting objects proximate to a Treadmill” patent clearly states its goal up front: provide extra protection for a household against objects getting too close or under a tread. It says:
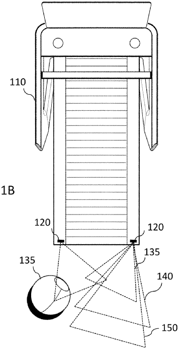
Often an exercise machine, such as a treadmill, is surrounded within a home or club environment by people, objects, pets, and so on. In some cases, these objects can move under or near the machine, leading to a potentially dangerous or sub-optimal condition for the object and/or a person operating the exercise machine. Thus, while basic protection mechanisms (e.g., a fixed guard) can provide some levels of protection, such mechanisms often fail to alert a user of the machine and/or adequately prevent the object from contacting or otherwise moving too close to the machine, among other issues.
In this new patent, they specifically mention providing extra safety over what a “rear guard” can provide. According to Peloton’s most recent comments about the CPSC recall when they extended the date a year, it appears they are working on a physical rear guard for the Tread+ as part of their fix & return to market strategy. This patent could allow Peloton to potentially use technology and sensors as a second layer of protection beyond a physical rear guard.
The patent mentions how they could use sensors and other methods to be able to detect objects near the treadmill, and if they are moving towards or away from it. Their sensors might include “time-of-flight (ToF) sensors or cameras, millimeter wave (mmWave) sensors, computer vision (CV) technology.” These sensors can be used to detect if the object is getting close to specific areas of the Treadmill.

The patent summarized how the Tread+ could work as follows – essentially saying if the sensors detect something getting closer or under the treadmill, it can slow down or shut off the Tread as appropriate before anything gets under the Treadmill.
A controller or control system, in response to the object detection, can cause the treadmill to adjust a current operation (e.g., slow down or stop the moving belt or running surface) or otherwise perform a mitigation action to alert a user and/or prevent a dangerous condition at the treadmill due to the object’s proximity and/or movement.
Thus, the treadmill, or other exercise machine, can enhance the experience of the user by modifying operations in response to the detected proximity or motion state of the object. The control system can receive a signal or other information that an object is traveling towards the treadmill (e.g., towards an under area of the treadmill) and cause the treadmill to slow down or shut off before the object progresses under the treadmill, among other benefits.
The patent goes on to mention that this technology doesn’t necessarily apply only to Treadmills, stating “In addition to treadmills, the technology described herein can be employed by other exercise machines, such as exercise bicycles, rowing machines, strength machines, and so on. ”

The second Peloton patent, “Controlling operation of a treadmill”, is less explicit about the safety uses, however, can easily be seen to accomplish some of the same goals. The abstract of this patent is as follows:
In some embodiments, the various devices, systems, methods, and apparatuses utilize sensors to control the operation of a treadmill based on a detected position, movement, or actions of a user on a moving treadmill. For example, a treadmill includes a time-of-flight (ToF) sensor. The ToF sensor detects a position of a user (e.g., a runner on a moving belt or running surface of the treadmill), and, based on the detected position, controls the operation of the treadmill, such as by maintaining a current operation of the belt or running surface and/or modifying operation of the running belt or surface.
In this case, the safety aspect is if the sensors detect a user no longer on the Tread anymore (i.e. a fall has happened) it can also stop or slow the Treadmill.
Another key feature cited in this patent is the ability of the Tread to self-adjust its speed based on the movements of the user. The filing states:
In some cases, the system 200 can determine that the runner is within a specific detection zone as well as determine whether the runner is moving within the zone, such as moving towards or away from the front of the running surface while in the zone. For example, the module 202 can determine based on the ToF sensor 210 data that the user is within the center detection zone (e.g., using the position data) and moving towards the front of the running surface (e.g., using velocity data or multiple position data points).
In other words, sensors on the device will be able to self-moderate without any explicit or direct actions taken by the runner. This is useful especially in terms of safety. The filing explains:
Thus, the treadmill can enhance the experience of the user by modifying operations (without user input) to facilitate the user being located at a center or middle of the treadmill throughout an exercise activity on the treadmill. Further, the treadmill can determine, using the ToF sensors, whether a user is no longer on the treadmill, is running with poor form or with abnormal movement (e.g., possibly indicating a potential fall) or otherwise operating the treadmill unsafely, and cause the treadmill to adjust operations to return to safe or optimal operational conditions, among other benefits.
In addition to safety, these features above could in theory detect that someone is wanting to speed up because they are at the very front of the Treadmill – and automatically increase the speed a point or two.
Another key safety feature hinted at in the patent is that the Tread will be able to sense weight and prevent operation if the weight applied is deemed unsafe – i.e. if a child is standing on the Tread and trying to start it. According to the filing:
Further, the system can utilize other sensed or captured information to perform actions or prevent operation of a treadmill. For example, the deck can include force or weight sensors, and enable use of the treadmill when a measured weight is above a threshold weight (e.g., a user configurable weight or a weight indicative of an adult). In some cases, the treadmill can operate at reduced speeds when the measured weight is below the threshold weight for full operation (e.g., indicating improper use, even the detected position indicates proper use of the treadmill).
The patent also contains hints a Treadmill could provide some rudimentary form feedback features, a feature that has already been implemented in the Peloton Row – although that is not explicitly spelled out in these patents.
It states:
For example, the system 200 can access information indicating a current speed of the running surface is 9 mph. The system then determines that the runner is moving at 168 strides/minute (based on information detected by the ToF sensors), where they typically run at 170 strides/minute when the treadmill is operating at 9 mph (based on previous running activities or during the current activity). Thus, the system 200 determines the runner is moving abnormally (e.g., below their baseline speed)
As always, special shoutout to Bob Treemore for uncovering this news. He goes over some of the Tread patent information in his most recent YouTube video here if you’d like more thoughts from Bob on the subject.
This summer, we shared how Peloton’s manufacturing partner Rexon released some similar patents which detail using sensors to stop the Treadmill – but this group of patents released this week are now created & owned by Peloton.
What do you think of these new patents – and how they could related to the safety of the Peloton Tread+?
Support the site! Enjoy the news & guides we provide? Help us keep bringing you the news. Pelo Buddy is completely free, but you can help support the site with a one-time or monthly donation that will go to our writers, editors, and more. Find out more details here.
Get Our Newsletter Want to be sure to never miss any Peloton news? Sign up for our newsletter and get all the latest Peloton updates & Peloton rumors sent directly to your inbox.

Leave a Reply